Lo smartphone olografico torna periodicamente a far parlare di sé. Questa volta si tratta dell’ennesimo brevetto depositato da Samsung sull’argomento. Un documento ancora piuttosto fantascientifico, ma questo significa che comunque colossi come quello sud coreano continuano a lavorare all’idea di un device di questo genere.
Samsung e lo smartphone olografico
Ad oggi, l’unico smartphone in grado di “riprodurre ologrammi” (in realtà si tratta di una riproduzione su display 3D) annunciato ufficialmente è RED Hydrgone One e – per una serie di motivi – non sembra esattamente il device più popolare degli ultimi anni. Tuttavia, l’idea di un terminale in grado di riprodurre ologrammi sembra ancora fra i progetti futuri di molti produttori.
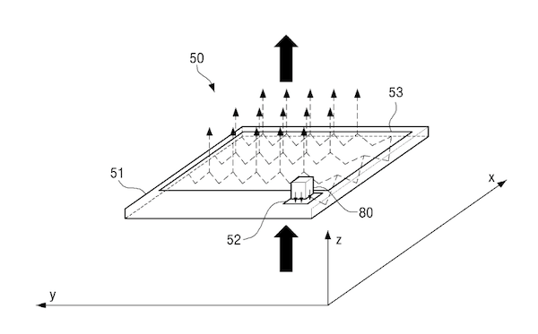
L’ultimo brevetto depositato da Samsung spiega in dettaglio, all’interno di un unico documento, tutti quelli presentati ultimamente sull’argomento. Quanto descritto è relativo ad un particolare samrtphone, dotato di un hardware dedicato alla riproduzione di ologrammi che si chiama SML (Spatial Light Modulator) ed include – fra le altri componenti – un display di tipo IPS.
Nel brevetto viene spiegata una tecnologia che – per la prima in tema di SML destinati all’utilizzo amatoriale – non regoli la qualità dell’ologramma mostrato in base alla densità di pixel del display di partenza, anzi ne é indipendente. Un concetto piuttosto semplice da annunciare, ma molto complicato – e costosto – da realizzare allo stato attuale.

Pertanto, al momento il brevetto contiene idee di natura certamente astratta che incontrano due limiti importanti ancora prima di pensare che possano diventare progetti da sviluppare: la necessità di mettere a punto la tecnologia per il nuovo SML ed i costi elevati che renderebbero antieconomico oltre ogni ragionevole limite l’acquisto di uno smartphone olografico di questo genere.
Tuttavia, Samsung si tutela e continua a depositare e congelare ogni idea a riguardo in modo da proteggerla fino a quando quando in futuro – con l’avanzamento tecnologico – sarà possibile pensare di realizzare un device in grado di riprodurre ologrammi di elevata qualità e che abbia un prezzo accessibile alla massa. Attenti però, per “prezzo accessibile” intendiamo rispetto al panorama attuale degli smartphone: vi ricordiamo che RED Hydrogen One, che in realtà ha a bordo un display 3D e non un hardware per ripdourre ologrammi che fluttuano nell’aria, costa circa 1300€.