Un iPhone la cui scocca è solo un grande display, che occupa la parte anteriore, posteriore e tutti i laterali del melafonino: nessun pulsante fisico e – per forza di cose – fotocamere sotto lo schermo. Sembra fantascienza, ma pare che Apple ci stia pensando, lo testimonia un nuovo brevetto.
Un iPhone, un immenso display
Non è la prima volta che il concetto di iPhone viene accostato a quello di uno smartphone con display di dimensioni e tipologia molto particolari. Infatti, già qualche mese fa è trapelato il concept (video a fine articolo) di un melafonino il cui schermo sembrava avere di bordi estremamente arrotondati, in stile Xiaomi Mi Mix Alpha.

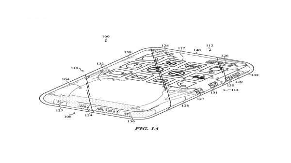
Sembra però che l’ultimo brevetto scovato si spinga ancora oltre: il display sarebbe ovunque. Niente spazio per i tasti fisici e nemmeno per le fotocamere con alloggiamento standard. Non sembrano esserci neanche fori per la nanoSIM: è facile penare che – se un terminale di questo tipo mai esistesse per davvero – funzionerebbe tramite supporto eSIM.
Nel brevetto si legge che l’iPhone “tutto schermo” avrebbe a bordo un’interfaccia utente in grado di garantire all’utilizzatore la possibilità di sfruttare al massimo il particolare form factor del terminale. Ad esempio, le icone seguirebbero i movimenti di mani e occhi, spostandosi da una parte all’altra dello schermo.
Un’idea parecchio curiosa, e anche brevettata, ma siamo onesti: considerata la gran cautela con cui Apple lancia ogni singola novità riguardante i suoi prodotti, sembra abbastanza improbabile che possa decidere di buttarsi in un progetto così futuristico e – di conseguenza – perfettibile praticamente sotto ogni punto di vista.