Uno smartphone pieghevole con display multipli: questa sembra essere la visione del dispositivo che Google aveva in mente quando ieri ha depositato un originale brevetto presso la World Intellectual Property Organization. Il telefono, se realizzato, potrebbe essere aperto e chiuso proprio come il Galaxy Fold di Samsung, ma al tempo stesso rafforzare la sua struttura, aggiungendo display multipli che fungono da pagine, come in un tradizionale libro stampato.
Google: lo smartphone come un libro
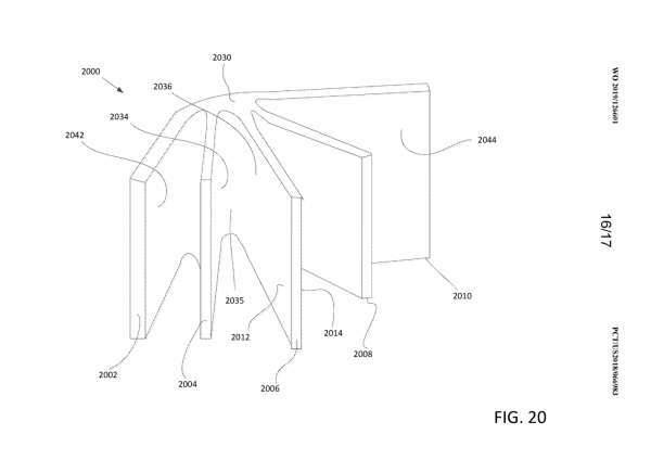
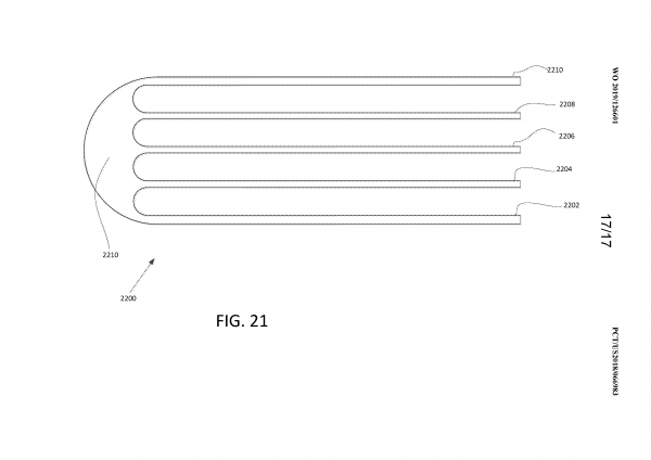
Sulla base delle bozze del brevetto, il design del futuristico terminale riunirebbe più pannelli pieghevoli di visualizzazione, con due pagine ciascuno (le pagine sinistra e destra) e con il pannello successivo che funge da set di pagine conseguenti, come un libro appunto.

La “spina dorsale” del dispositivo conterrebbe tutto l’hardware, la batteria, il disco rigido, la RAM e tutto il necessario perché il terminale funzioni. I pannelli dovrebbero essere schermi OLED flessibili, in grado di ospitare contenuti differenti che l’utente potrebbe sfogliare e consultare, proprio come con un volume di carta.
Seppur interessante, non è chiaro se Google abbia, in realtà, la ferma intenzione di commercializzare in futuro un device del genere, dato che potrebbe risultare eccessivamente spesso e non avrebbe, con molta probabilità, alcun reale utilizzo pratico per i consumatori, considerando che attualmente il trend va verso smartphone sempre più sottili.

Detto questo, ricordiamo che l’azienda di Mountain View non è estranea alla creazione di dispositivi adatti a scopi educativi o aziendali: ad esempio, Google Glass da essere pensato per i gli utenti finali, è poi diventato un prodotto rilevante per il progetto professionale Enterprise.
Ricordiamo che Google, all’inizio di quest’anno, ha ammesso di aver avuto in mente di creare uno smartphone pieghevole, implementando la tecnologia foldable su un Pixel, per poi rendersi conto di non trovare alcun reale vantaggio per i consumatori.