Sembra che l’idea di produrre un nuovo speaker smart, dopotutto, non abbia mai abbandonato i progetti di Microsoft. Secondo un brevetto scoperto di recente, il colosso americano starebbe lavorando per mettere a punto un altro dispositivo smart per far concorrenza ad Amazon, Google ed Apple. Il suo cuore pulsante? Naturalmente, Cortana.
Microsoft Surface smart speaker con Cortana
Niente di più probabile che, se mai uno smart speaker venisse rilasciato, questo farebbe parte della famiglia di prodotti Surface, ormai un brand che è sinonimo di qualità.
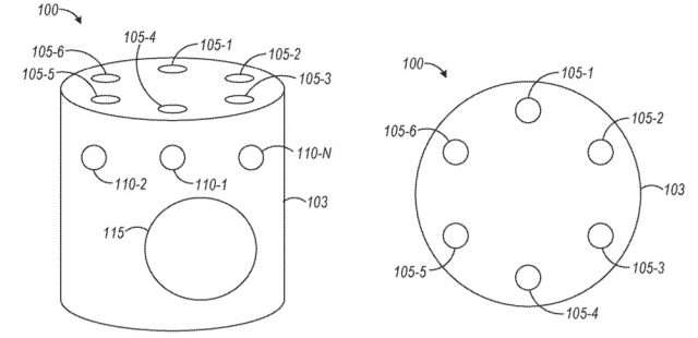
Secondo il brevetto, si tratterebbe di un dispositivo simile a un Amazon Echo, ma un po’ più piccolo. A bordo, oltre al WiFi, anche il Bluetooth. Ci sarebbero dei microfoni, a garanzia dell’aspetto “smart” dello speaker poiché prevederebbero l’interazione fra utente e dispositivo. Non mancano dei sensori ottici.

Non viene specificato chiaramente se l’assistente vocale – in caso di lancio del prodotto – potrebbe essere Cortana, oppure se a sorpresa Microsoft potrebbe decidere di puntare, per il futuro, verso colleghi di Cortana più popolari come Amazon Alexa, ad esempio. Tuttavia, sebbene l’assistente smart del colosso di Redmond non goda di grandissima popolarità, ci sembra comunque improbabile che la compagnia possa decidere di sostituirlo solo come estremo tentativo di ingraziarsi un mercato parecchio complesso come quello degli smart speaker.
Per il momento, comunque, si tratta solo di un brevetto: questo significa che il prodotto potrebbe anche non diventare mai realtà, ma rimanere su carta. Non resta che aspettare di poter scoprire altro.